Добрый день,
в вашем случае мы имеем дело со структурным шумом. Источником является насос (насосы) и трубопроводы горячего водоснабжения. Вибрация насоса и трубопроводов передается на строительные конструкции и распространяется по ним на достаточно большие расстояния с малым затуханием. Далее эти вибрации переизлучаются в помещения жилых квартир в виде так называемого структурного шума.
Наиболее эффективным решением проблемы является виброизоляция источника, т.е установка насоса на виброизолированный фундамент (что, кстати, регламентируется действующими строительными нормами) и акустическая развязка трубопроводов от стен и межэтажных перекрытий.
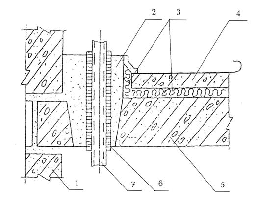
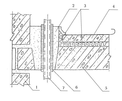
Если виброизолировать насосы по каким-то причинам невозможно, то хотя бы прокладку труб через перекрытия надо выполнить акустически правильно (см. схему из справочника):

- Прокладка труб через ограждения_1.jpg (37.01 KiB) Viewed 58556 times
1 – Стена, 2 – Безусадочный бетон, 3 – Звукоизоляционный слой (минеральная вата типа Acousticwool), 4 – Стяжка, 5 – Несущая часть перекрытия, 6 – Эластичная гильза, 7 – Труба стояка отопления или горячей воды.
Схема принципиальная и может немного отличаться от реальной конструкции на объекте.
В качестве материала эластичной гильзы, которая предотвращает передачу вибрации с трубы на перекрытие можно использовать минеральную вату или трубки из вспененного каучука типа К-Флекс или Армафлекс. Материал эластичной гильзы должен быть негорючим.
Саму трубу рекомендуется заключить в короб из гипсокартона в 2 слоя с укладкой внутрь каркаса акустической минеральной ваты типа Acousticwool Sonet 50 мм толщиной.