Vibrofix

Проект студии. Нужна Ваша консультация

Кімнати прослуховування, домашні кінотеатри, студії звукозапису, концертні зали, клуби, спортивні споруди, конференц-зали тощо. Звукопоглинальні матеріали, акустичні дифузори, бастрапи

Проект студии. Нужна Ваша консультация

Postby Lfee » 31 Mar 2010, 09:01

Здравствуйте. Мы с друзьями делаем реконструкцию существующей "студии", в которой из акустического оформления есть только ППГЗ на стенах в тон-зале и обои в соседней комнате, которая к тому же еще разделена на два помещения гипсокартонной стеной с дверью, т.е. площадь настоящей к.к. равна 7.5(!) кв.м., а венчается это все подвесным офисным потолком...
Основываясь на полученных из книг Ф.Ньюэла знаниях, я нарисовал проект реконструкции студии, но т.к. делаю это впервые мне требуется консультация. Во-первых, есть ли ошибки в проекте и, если есть, то какие и как их устранить? (Если же их много, то прошу рассказать об основных) и во-вторых, как обеспечить достаточное охлаждение активных мониторов в фальш-стене? (Если сделать небольшое отверстие или проем для отвода тепла в задней стенке ниши под монитор, то куда же это тепло будет уходить, ведь за этой стенкой все пространство заполнено минватой? ) (В качестве мониторов предполагается использовать YAMAHA HS80M или KRK RP8 G2) Заранее спасибо.

Рroject-студия (специализация электронная музыка) с возможностью записи «живых» коллективов (рок музыканты).
Подвальное помещение разделено на две комнаты. Тон-зал (Д=5.9м., Ш=3.6м., В=2.8м от потолка до деревянного пола (скорее всего лежит на лагах)) и контрольная комната (Д=5.9м., Ш=3.5м., В=2.8м) разделены стеной, в которой есть внутристудийное окно и дверь между этими комнатами. Вход в студию расположен в противоположной стене за которой вдоль нее идет коридор. Несущая стена находиться в тон-зале (5.9м), все остальные стены это кирпичные или бетонные простенки подвала. (Рисунок приводится в масштабе)
Attachments
studio-rebuild_(big_pic).rar
(172.18 KiB) Downloaded 733 times
studio-rebuild.jpg
studio-rebuild.jpg (50.66 KiB) Viewed 10437 times
Lfee
 
Posts: 4
Joined: 31 Mar 2010, 04:20
Location: Россия, МО, Ступино

Re: Проект студии. Нужна Ваша консультация

Postby Андрей Смирнов » 31 Mar 2010, 14:50

Привет, Lfee

на рисунке изображен не проект, а план студии.
Это реализация одного из студийных подходов, приверженцем которого является Ф. Ньюэлл.
В контролькой комнате создается бессредный дизайн, а в тоне реалицуется принцип нейтральной акустики.
Эти подходы будут реализованы, если корректно будет выполнена финишная отделка внутренних поверхнотей помещений.
Ньюэлл рекомендует достаточно толстые и сложные "пироги" облицовок стен.
В данном случае состав облицовок не приведен (кроме подвесных НЧ-поглотителей) и сказать что-то определенное трудно.
Но направление выбрано верное...:)
Некоторую тревогу вызывают пропорции комнат, не соответствующие рекомендациям. Этом ожет привести к проблемам с комнатными НЧ-резонансами.
Проверить комнатные размеры можно с помощью калькулятора http://acoustic.ua/forms/rr.html
...ничто не слишком...(с) Кармадон, "Альтист Данилов"
http://www.akustik.ua - акустическое проектное бюро
http://www.acoustic.ua - звукоизоляционные материалы
............................................
User avatar
Андрей Смирнов
Soundmoderator
 
Posts: 8791
Joined: 29 Aug 2006, 12:24
Location: Украина, Киев

Re: Проект студии. Нужна Ваша консультация

Postby Lfee » 01 Apr 2010, 02:24

Здравствуйте Андрей!
Проект в голове, а на рисунке - план :) Да, пропорции комнаты не идеальны, но их изменение приведет к существенному удорожанию всего проекта, чего мы позволить себе не можем... Кстати, спасибо за калькуляторы - ОЧЕНЬ удобный инструмент, именно с этой странички на Вашем сайте я начинал рисовать план. Итак, акустическая оболочка состоит из (см. рис.): 1- стена, 2- воздушная прослойка 50мм, 3- поглощающий волоконный материал (картон из базальтового волокна плотностью 50-80кг/м3 и толщиной 50мм), 4- сэндвич из двух листов гипсокартона (12.5мм) между которыми будет проложен дешевый материал для гидроизоляции (бирепласт, рубемаст ит.п.), 5- каркас из деревянного бруса (100мм х 50мм), с внутренним заполнением поглощающим волоконным материалом (плита из базальтового волокна плотностью 30-40кг/м3 и толщиной 100мм), 6- гидроизол места стыков которого будет проклеены скотчем (или это уже лишнее?), 7- поглощающий волоконный материал (картон из базальтового волокна плотностью 50-80кг/м3 и толщиной 50мм), 8- отражающая поверхность (в тон-зале это будет гранитная или мраморная плитка с колотой обработкой и толщиной 10мм наклеенная на гипсокартон, все остальные отражающие поверхности - из дерева)
Attachments
sandwich-wall.jpg
sandwich-wall.jpg (19.02 KiB) Viewed 10407 times
Lfee
 
Posts: 4
Joined: 31 Mar 2010, 04:20
Location: Россия, МО, Ступино

Re: Проект студии. Нужна Ваша консультация

Postby Андрей Смирнов » 01 Apr 2010, 09:51

На схеме приведен состав совмещенной звукоизоляционной и звукопоглощающей облицовки из книжки Ньюэлла. Но для того, чтобы подобрать аналоги материалов необходимо понимать назначение каждого слоя. В противном случае деньги будут выброшены на ветер.

1. я не понял, что имеется ввиду под понятием "картон из базальтового волокна плотностью 50-80кг/м3 и толщиной 50мм". Если это на самом деле базальтовый картон, то его применение неправильно. В поз. 3 должен применяться эффективный звукопоглощающий материал, например базальтовые минеральные плиты плотностью 45-60 кг/куб.м.

2. поверх слоев поз.6 и поз.7 монтировать гипсокартон и мраморную плитку (поз.8 ) бессмысленно. Поз.6 и поз.7 работают как поглотитель комнатных резонансов и поэтому могут закрываться только звукопрозрачной тканью, поверх которой возможноа облицовка деревянными планками различной ширины с переменными зазорами. Если закрыть поз.6 и поз.7 жестким звукоотражающим покрытием мы вместо поглощения комнатных резонансов получим их усиление. Это все-равно, что лить в костер бензин и воду одновременно.

3. Могу предположить, что колотая плитка по замыслу должна была выполнять функцию, так называемой, "каменной комнаты" по тому же Ньюэллу.
Этого с плиткой не получится.
Для создания эффекта "каменной комнаты", камни должны иметь линейные размеры 150-300 мм, щели между камнями должны быть 5-10 мм, глубина щелей между камнями должна быть не менее 50-60 мм.
Применение тонкой плитки будет увеличивать диффузность звука только на самых высоких частотах (выше 5000 Гц), а "каменные комнаты" должны обладать хорошей диффузностью на средних частотах и высоким поглощением на высоких частотах.
...ничто не слишком...(с) Кармадон, "Альтист Данилов"
http://www.akustik.ua - акустическое проектное бюро
http://www.acoustic.ua - звукоизоляционные материалы
............................................
User avatar
Андрей Смирнов
Soundmoderator
 
Posts: 8791
Joined: 29 Aug 2006, 12:24
Location: Украина, Киев

Re: Проект студии. Нужна Ваша консультация

Postby Lfee » 02 Apr 2010, 03:57

Доброго времени, Андрей!
1. Про картон и плиты. мне кажется, что они только названием здесь отличаются http://www.korda.ru/basalt_cardboard1.htm или нет?
2. Про камни. Я решил поменять местами "живую" и "мертвую" зоны, что бы не утяжелять дверь (все-таки открывать/закрывать дверь, которая весит как крыло от боинга будет несколько неудобно :)), а как закрепить такие (300х300х50) камни? Может использовать стальной профиль (на рис. синий) установленный вертикально, между ним, как в пазы вставить камни, а между камнями (на рис. черный) проложить деревянные (например) брусочки толщиной 1см (на рис. красный) ну и расстояние между парами профиля тоже 1см (рис. вид сбоку и вид сверху) ? И чем можно заменить мрамор/гранит? (все-таки такое кол-во камней явно не будет стоить дешево)?
Attachments
stones.jpg
stones.jpg (15.14 KiB) Viewed 10344 times
studio-rebuild-new.jpg
studio-rebuild-new.jpg (42.56 KiB) Viewed 10344 times
Lfee
 
Posts: 4
Joined: 31 Mar 2010, 04:20
Location: Россия, МО, Ступино

Re: Проект студии. Нужна Ваша консультация

Postby Андрей Смирнов » 02 Apr 2010, 13:37

Добрый день,
1. материалы отличаются названием и плотностью

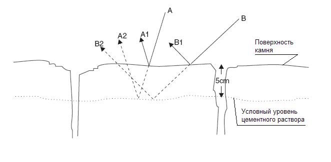
2. 50 мм это не глубина камней, а усредненное расстояние от поверхности каменной облицовки до цементного раствора (в щелях), на который уложены камни. А сами камни имеют достаточно большую глубину 200-300 мм и укладываются один на другой образуя собственно стену.
Attachments
Stone room Lfee.JPG
Stone room Lfee.JPG (16.57 KiB) Viewed 10314 times
...ничто не слишком...(с) Кармадон, "Альтист Данилов"
http://www.akustik.ua - акустическое проектное бюро
http://www.acoustic.ua - звукоизоляционные материалы
............................................
User avatar
Андрей Смирнов
Soundmoderator
 
Posts: 8791
Joined: 29 Aug 2006, 12:24
Location: Украина, Киев

Re: Проект студии. Нужна Ваша консультация

Postby Lfee » 13 Apr 2010, 00:58

Здравствуйте Андрей.
Я оптимизировал предыдущий план студии и после доработки он выглядит так: в контрольной комнате я отказался от боковых НЧ поглотителей и фронт фальш-стены из-за сложности согласования их с открывающимся окном-люком, а из-за малой высоты потолка разместил потолочные НЧ ловушки только в промежутке между фронтальной стеной и позицией звукоинженера (но расстояние между акустическим потолком и потолком комнатны около 35 см (там проходит вытяжной короб на рис светло серый), что как я понимаю также способствует лучшему НЧ поглощению). Тон-зал решил сделать просто "нейтральным", но для достижения некой вариабельности поместил туда диффузные полуцилиндры, которые разместил не сплошным массивом, а с промежутками, интервалы между которыми высчитал исходя из того, что они должны составлять меньше половины длины волны самого высокого "проблемного" резонанса (для этой комнаты это 246 Гц (спасибо Вашим калькуляторам еще раз), след. длина волны около 1,4м, значит интервалы должны быть меньше 70 см) Радиус полуцилиндров 30 см, значит между интервалами 60см. Потолок, стены и промежутки между полуцилиндров сделаны из деревянных планок набитых на рамки с псевдопроизвольным размером и шагом. Также напротив стены с отражающими поверхностями я разместил стену с двойным наклоном, дополнив ее такой же соседней. Помимо вида сверху я дорисовал виды сбоку обеих комнат (приводится вариант с открытым окном-люком).
Attachments
studio-rebuild-TR-side.jpg
studio-rebuild-TR-side.jpg (19.8 KiB) Viewed 10082 times
studio-rebuild-over-2.jpg
studio-rebuild-over-2.jpg (78.27 KiB) Viewed 10082 times
studio-rebuild-CR-side-2.jpg
studio-rebuild-CR-side-2.jpg (24.36 KiB) Viewed 10082 times
Lfee
 
Posts: 4
Joined: 31 Mar 2010, 04:20
Location: Россия, МО, Ступино

Re: Проект студии. Нужна Ваша консультация

Postby Андрей Смирнов » 13 Apr 2010, 10:58

Все выглядит очень хорошо.
Но есть несколько замечаний.

1. точку сведения рекомендую отодвинуть подальше от фронтальной стены. Как правило, применяется расстояние в 38% от длины комнаты.

2. окно визуальной связи в исходном состоянии позволяет просматривать только самый правый край тон-зала, где исполнитель уж точно стоять не будет. Кроме того окно попадает в площадку первого отражения от левой боковой стены.
Рекомендую сместить окно влево. Тогда и просмотр улучшится (см. угол обзора) и боковые отражения можно будет уменьшить (голубым выделены зоны размещения широкополосных поглотителей).

Lfee studio.JPG
Lfee studio.JPG (53.86 KiB) Viewed 10070 times
...ничто не слишком...(с) Кармадон, "Альтист Данилов"
http://www.akustik.ua - акустическое проектное бюро
http://www.acoustic.ua - звукоизоляционные материалы
............................................
User avatar
Андрей Смирнов
Soundmoderator
 
Posts: 8791
Joined: 29 Aug 2006, 12:24
Location: Украина, Киев


Return to Акустика приміщень

Who is online

Users browsing this forum: No registered users and 5 guests